Aktrisa, önertapqyş Hedi Lamarrdyŋ ömır joly
Hedi Lamarr – ekran arqyly milliondardyŋ jüregın jaulaǧan aktrisa ǧana emes, küllı adamzat igılıgıne jarap tūrǧan GSM, GPS, Bluetooth jäne Wi-Fi 802.11-dıŋ paida boluyna äser etken önertapqyş. 1942 jyly ol signal beru arnasy dinamikalyq türde özgeretın bailanys jüiesın oilap tapty. Alaida, onyŋ būl tapqyrlyǧy jarty ǧasyr ötken soŋ ǧana moiyndalyp, ūialy bailanys pen Wi-Fi-dyŋ paida boluyna negız boldy.
Hedidıŋ ömırı san sürleulı, qyzyqty. Tırısınde onyŋ artynan talai «aŋyz», «mif» erıp, ylǧi basy dauǧa qalyp jürgen. Eger onyŋ ömırı jaily film tüsırılse, būl ıstı eşkım batyldanyp qolǧa almas edı. Onyŋ eŋ alǧaşqy erotikalyq filmge tüsuı men ärkımnıŋ baǧyna būiyra bermeitın Gollivudtaǧy bas ainaldyrar ataǧy, uys-uys gonorary, saŋ myŋdaǧan tabynuşylary, mūnyŋ bärı de adamzat ömırıne tübegeilı äser etken GSM, GPS, Bluetooth jäne zamanaui Wi-Fi jüielerımen salystyrǧanda, ekınşı deŋgeige ysyrylyp qalady.
Hedvig Eva Mariia Kisler 1914 jyly Venada evrei otbasynda düniege kelgen. Bank jürgızuşısı Gertruda men pianist Emil Kislerdıŋ jalǧyz qyzy 16 jasqa tolǧanda, teatr mektebıne tüsıp, kinoǧa tüse bastaidy. Europalyq «Ekstaz» filmındegı aşyq ssenaly rolımen ony bükıl el tanyp, tabalai bastaidy. Sebebı ol uaqyttarda mūndai filmder mülde joq, ärı körermen de qabyldai almaityn. Nätijesınde būl kartinany bırqatar memleketterde körsetuge tyiym salynyp, bırneşe jyldan keiın senzuranyŋ süzgısınen äbden ötıp qana körermenge jol tartady.
Film şyqqan jyly ata-anasynyŋ mäjbürleuımen jas qyz ülken qaru öndıretın avstriialyq millioner Fris Mandlǧa tūrmysqa şyqty. Küieuı eŋ bırınşı janjaldy filmnıŋ bükıl köşırmesın satyp aluǧa tyrysty.
Mandl Versal şartyn būza otyryp, Germaniia men Vengriianyŋ jaŋa qaru-jaraq jüielerın satyp, özınıŋ jaǧdaiyn tömendetıp alady. Būl jaǧdai
Hedi ekeuınıŋ qarym-qatynasyna äser etpei qoimaidy.

Syrtynan qaraǧanda Hedi sän-saltanatqa kömılıp, ǧajap qamalda tūratyn, ömırı ertegıdei janǧa ūqsaityn. Bıraq oǧan jary Mandl ädettegıdei joǧary klassty kölıkke nemese asyl tūqymdy tūlparǧa qaraǧandai közqaras tanytuşy edı. Al aqyly körkıne sai Hedi qūr quyrşaq boludy qalamaityn.
Mandl quyrşaqtai äielın öz serıktesterıne körsetıp, maqtanudy jany süietın. Hedi, tıptı, tehnikalyq jinalystarǧa da qatysatyn. Sūlulyǧymen barlyq jannyŋ esın alyp qana qoimai, jiynda aitylǧan barlyq pıkır, oidy esıne saqtap alatyn. Öitkenı oǧan būdan özge intellektual orta men tanym keŋeiter äŋgıme aitatyn keşter joq edı.
Mandldyŋ zerthanalary negızınen qaru jasaumen ainalysatyn. Keiın belgılı bolǧandai, ol sol jerde jürıp tehnikter talqylaityn mäselelerdıŋ mänın tereŋ tüsınıp qana qoimai, köp närsenı baiyptap, jinaǧan täjıribesın keiın ūtqyr, ärı qarapaiym jaŋalyq jasauda kädege jaratqan eken. Bıraq onyŋ būl jaŋalyqtyŋ tolyqtai bıtıp, taraluyna älı dep uaqyt bar edı. Sol sätterde ol altyn tordaǧy ömırden äbden mezı bop, tek qūtyludyŋ ǧana jolyn qarastyryp jürgen-dı.
Tört jyldyq sätsız nekeden keiın, kütuşısıne ūiyqtatyn därı qosyp berıp, onyŋ formasyn kiıp alyp, frau Mandl qosymşa esıkten qaşyp şyǧady.
Küieuınıŋ keŋsesındegı äŋgımelerden keiın äskeri qauıptıŋ auqymyna äbden qanyq ol Europada qaluǧa jüreksınıp, «Normandiia» parohodymen Londonnan Niu-Iorkke qarai bet alady.
Atyşuly debiutınıŋ saldarynan onyŋ aty ūmytyla bastaǧandyqtan, ol Gollivudtyŋ tabaldyryǧynan da attai almaidy. Publika jaqsy qabyldap, reputasiiasy dūrys boluy üşın öz esımın auystyrady. Sonymen, Hedvig Kisler bır sätte Hedi Lamarrǧa ainalyp şyǧa keledı.
Būdan keiıngı oqiǧalar adam aitsa ǧajaiypqa ainalady. Ol kezde eşkımnıŋ tüsıne de kırmeitın mansap jolyndaǧy alǧaşqy – $ 30 millionǧa qol jetkızedı. Aitpaqşy, ol osyndai tabysqa keneltken alǧaşqy kelısımşartyna sol «Normandiia» bortynda qol qoiady. Keiın MGM studiiasynyŋ negızın qalauşy Lui Meiermen bırlese jūmys ısteidı.

Osy uaqytta düniejüzılık soǧystyŋ alauy jalyndap, faşizmnıŋ örtı Europany jalmaǧan bolatyn. Hedi öz otanynda bolǧan jaidyŋ bärın jüregıne jaqyn qabyldady. Öitkenı ol evrei edı. Sondyqtan Qūrama Ştattarda qorǧanys qabıletın nyǧaitu şaralary aiasynda Ūlttyq önertapqyştar keŋesı qūrylǧan kezde, ol bırden keŋeske öz qyzmetın ūsynuǧa şeşım qabyldaidy. Onyŋ basynda milliondaǧan ideialar öndırılıp jatty jäne ol bar jüregımen faşizmdı aiaǧymen janşudy qalady. Kedergıge tözımdı radiobailanys tehnologiiasyn jasau ol üşın op-oŋai bolady. Taratqyş pen qabyldaǧyşty qalaida sinhornizsiialap, keŋ auqymda jiılıktı kezdeisoq türde özgertu kerek ekendıgın oilap tabady.
Keŋestıŋ būl ideiaǧa közqarasyn anyqtau qiyn emes. Olar külımköz Gollivud sūluyna qorǧanys obligasiialaryn satu üşın özıne tabiǧat bergen syidy paidalanuǧa keŋes berıledı.
Ol rasymen de 7 million jinai aldy: 25 myŋ tölegen adam onyŋ sūlulyǧyna qarap, betınen süie alatyn. İä, oǧan niet bıldıruşıler de köp boldy. Bıraq onyŋ ideialary Djordj Anteilmen kezdeskenşe sūranysqa ie bolmai qaldy.
Amerikalyq avangard kompozitor Djordj Anteil özı sekıldı öner dese, ışken asyn jerge qoiatyn jandar sekıldı jiyrmasynşy jyldardyŋ basynda Parijge köşıp keldı. Onda daŋqqa kenelıp, tıptı zamanaui önerdıŋ beldı ökılı Solomon Guggenhaimnyŋ stipendiiasyn aldy. Pablo Pikasso, Djeims Djois, Ezra Paund syndy tanymal adamdarmen jaqsy aralasty. Berlin simfoniialyq orkestrınıŋ şaqyruymen Djordj Anteil Germaniiaǧa köşıp, Stravinskiimen kezdesıp, Gitler rejimınıŋ küşeiuın öz közımen köredı. 1936 jyly Amerikaǧa oralyp, ekınşı düniejüzılık soǧys turaly boljamdy kıtap jazady.
1940 jyldyŋ jazynda, keremet keşterdıŋ bırınde, Hedi Lamarr Djordj Anteilmen tanysady. Ekeuı de soǧys kezınde adamdarǧa qalai kömektesu kerek ekenın oilanyp, äŋgımesı jarasa ketedı. Lamarrdy eŋ alǧaş mūqiiat tyŋdaǧan adam osy kompozitor boldy. Köp ūzamai ekeuı qaita kezdesıp, Hedidıŋ ūzaq kütken ideiasy qoldau tapty.
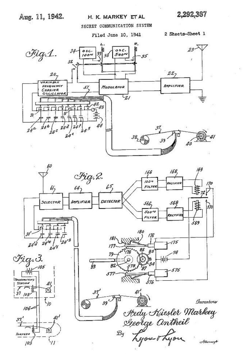
Ol kezde mikroelektronika atymen joq edı. Baǧdarlamalanatyn jalǧyz qūral – mehanikalyq roial! Onyŋ mehanizmı teŋız torpedasynyŋ korpusyna syiatyndai yqşamdy boldy. Būl önertabys taǧy bırneşe ai boiy egjei-tegjeilı pysyqtalyp, ötınım 1940 jyldyŋ jeltoqsanynda Ūlttyq önertapqyştar keŋesınıŋ töraǧasy Charlz Ketteringke jıberıldı.
Ötınım Ketteringtıŋ jetekşılıgımen daiyndalǧan jüzdegen myŋ basqa önertabystardyŋ ışınen ırıktelıp, 1942 jyly tamyzda «Qūpiia habarlama jüiesıne» AQŞ-tyŋ №2,292,387 patentı berıldı.
Qos avtor gonorardan bas tartyp, ükımetke syiǧa tartty. Ökınışke orai, būl önertabys öz uaqytynan äldeqaida erte tuǧan eken. AQŞ Äskeri-teŋız küşterınıŋ basşylyǧy patentke kümänmen qarady. Olar jyldar boiy būl nätijelı ıstı qūpiiada saqtady. Jiılıktı sekıru konsepsiiasy tek soǧystan keiın elektronikanyŋ damuymen qaita jandandy.
1957 jyldan bastap Silvaniia firmasynyŋ injenerlerı mehanikalyq komponentterdıŋ ornyna jartylai ötkızgış komponentterdı paidalana otyryp, "qūpiia habarlamalar jüiesı" ideiasymen täjıribe jasap, "Keŋjolaqty signal" terminı paida boldy. Seksenınşı jyldardyŋ ortasynda Pentagon bırqatar patentterdıŋ qūpiiasyn aşty, sol sätte ǧana "Keŋjolaqty signaldyŋ" artyqşylyqtary azamattardyŋ tūtynuyna qol jetımdı boldy. Būǧan CDMA radiotelefony qazırgı kezdegı eŋ belgılı mysal bola alady.
1959 jyly Djordj Anteil önertabystyŋ taǧdyryn, keleşegın bılmesı qaitys boldy. Hedi Lamarr būdan keiıngı bes sätsız nekesınen keiın (Fris Mandldy eseptemegende) bükıl bailyǧynan airylyp, Floridadaǧy qarttar üiınde qaitys boldy.
Endı, osyndai näzık jandynyŋ jasaǧan ısterın sanamalai otyryp, onyŋ köz toimas sūlu aktrisalyǧynan bölek, erekşe tūlǧasyn da tanysaq:
- bız onyŋ oilap tapqan önertabystaryn kündelıktı paidalanamyz;
- GSM, GPS, Bluetooth jäne Wi-Fi 802.11 sekıldı taptyrmas jüielerdıŋ negızın jasady;
- ol aşyq bailanys arnalary üşın aqparatty şifrlau prinsipterın oilap tapty;
- onyŋ arqasynda sız öz Wi-Fi kanalyŋyzda özge bıreu "otyr" dep qoryqpaisyz.
Hedi Lamardyŋ önertabysy bolmasa, äskeri sputnikter ūşpaityn, ūialy telefondar jūmys ıstemeitın, al navigasiialyq jüieler turaly aitudyŋ qajetı de joq.
İä, bälkım, mūnyŋ bärın özge bıreu soŋyna deiın jüzege asyrǧan bolar, bıraq bır fakt – ideia gollivudtyq jūldyzdykı ekenı dausyz.
Jūldyzdyŋ būl keremet ısın entuziastar kezdeisoq bılıp, Hedidı Kongresstıŋ qūrmet medalıne jäne IEEE nagradasyna ūsynady. Bıraq qoldau tappaidy.
Tek 1997 jyly Electronic Frontier-dıŋ nagradasyna ie boldy. 82 jastaǧy aktrisa «Däl uaqytynda berdıŋder!» - dep renış tanytyp, marapattau räsımıne qatyspaidy. Jurnalisterge sūhbat ta bermeidı.
Syilyqty jalǧyz ūly Entoni Louder alady.
Hedi Lamarr kinemotografiiaǧa qosqan ülesı üşın Gollivudtyŋ Daŋq alleiasynda öz jūldyzyn iemdendı. Al 9 qaraşa – aktrisanyŋ tuǧan künı – AQŞ-ta önertapqyştar künı retınde belgılendı.

Syrtynan qaraǧanda Hedi sän-saltanatqa kömılıp, ǧajap qamalda tūratyn, ömırı ertegıdei janǧa ūqsaityn. Bıraq oǧan jary Mandl ädettegıdei joǧary klassty kölıkke nemese asyl tūqymdy tūlparǧa qaraǧandai közqaras tanytuşy edı. Al aqyly körkıne sai Hedi qūr quyrşaq boludy qalamaityn.
Mandl quyrşaqtai äielın öz serıktesterıne körsetıp, maqtanudy jany süietın. Hedi, tıptı, tehnikalyq jinalystarǧa da qatysatyn. Sūlulyǧymen barlyq jannyŋ esın alyp qana qoimai, jiynda aitylǧan barlyq pıkır, oidy esıne saqtap alatyn. Öitkenı oǧan būdan özge intellektual orta men tanym keŋeiter äŋgıme aitatyn keşter joq edı.
Mandldyŋ zerthanalary negızınen qaru jasaumen ainalysatyn. Keiın belgılı bolǧandai, ol sol jerde jürıp tehnikter talqylaityn mäselelerdıŋ mänın tereŋ tüsınıp qana qoimai, köp närsenı baiyptap, jinaǧan täjıribesın keiın ūtqyr, ärı qarapaiym jaŋalyq jasauda kädege jaratqan eken. Bıraq onyŋ būl jaŋalyqtyŋ tolyqtai bıtıp, taraluyna älı dep uaqyt bar edı. Sol sätterde ol altyn tordaǧy ömırden äbden mezı bop, tek qūtyludyŋ ǧana jolyn qarastyryp jürgen-dı.
Tört jyldyq sätsız nekeden keiın, kütuşısıne ūiyqtatyn därı qosyp berıp, onyŋ formasyn kiıp alyp, frau Mandl qosymşa esıkten qaşyp şyǧady.
Küieuınıŋ keŋsesındegı äŋgımelerden keiın äskeri qauıptıŋ auqymyna äbden qanyq ol Europada qaluǧa jüreksınıp, «Normandiia» parohodymen Londonnan Niu-Iorkke qarai bet alady.
Atyşuly debiutınıŋ saldarynan onyŋ aty ūmytyla bastaǧandyqtan, ol Gollivudtyŋ tabaldyryǧynan da attai almaidy. Publika jaqsy qabyldap, reputasiiasy dūrys boluy üşın öz esımın auystyrady. Sonymen, Hedvig Kisler bır sätte Hedi Lamarrǧa ainalyp şyǧa keledı.
Būdan keiıngı oqiǧalar adam aitsa ǧajaiypqa ainalady. Ol kezde eşkımnıŋ tüsıne de kırmeitın mansap jolyndaǧy alǧaşqy – $ 30 millionǧa qol jetkızedı. Aitpaqşy, ol osyndai tabysqa keneltken alǧaşqy kelısımşartyna sol «Normandiia» bortynda qol qoiady. Keiın MGM studiiasynyŋ negızın qalauşy Lui Meiermen bırlese jūmys ısteidı.

Osy uaqytta düniejüzılık soǧystyŋ alauy jalyndap, faşizmnıŋ örtı Europany jalmaǧan bolatyn. Hedi öz otanynda bolǧan jaidyŋ bärın jüregıne jaqyn qabyldady. Öitkenı ol evrei edı. Sondyqtan Qūrama Ştattarda qorǧanys qabıletın nyǧaitu şaralary aiasynda Ūlttyq önertapqyştar keŋesı qūrylǧan kezde, ol bırden keŋeske öz qyzmetın ūsynuǧa şeşım qabyldaidy. Onyŋ basynda milliondaǧan ideialar öndırılıp jatty jäne ol bar jüregımen faşizmdı aiaǧymen janşudy qalady. Kedergıge tözımdı radiobailanys tehnologiiasyn jasau ol üşın op-oŋai bolady. Taratqyş pen qabyldaǧyşty qalaida sinhornizsiialap, keŋ auqymda jiılıktı kezdeisoq türde özgertu kerek ekendıgın oilap tabady.
Keŋestıŋ būl ideiaǧa közqarasyn anyqtau qiyn emes. Olar külımköz Gollivud sūluyna qorǧanys obligasiialaryn satu üşın özıne tabiǧat bergen syidy paidalanuǧa keŋes berıledı.
Ol rasymen de 7 million jinai aldy: 25 myŋ tölegen adam onyŋ sūlulyǧyna qarap, betınen süie alatyn. İä, oǧan niet bıldıruşıler de köp boldy. Bıraq onyŋ ideialary Djordj Anteilmen kezdeskenşe sūranysqa ie bolmai qaldy.
Amerikalyq avangard kompozitor Djordj Anteil özı sekıldı öner dese, ışken asyn jerge qoiatyn jandar sekıldı jiyrmasynşy jyldardyŋ basynda Parijge köşıp keldı. Onda daŋqqa kenelıp, tıptı zamanaui önerdıŋ beldı ökılı Solomon Guggenhaimnyŋ stipendiiasyn aldy. Pablo Pikasso, Djeims Djois, Ezra Paund syndy tanymal adamdarmen jaqsy aralasty. Berlin simfoniialyq orkestrınıŋ şaqyruymen Djordj Anteil Germaniiaǧa köşıp, Stravinskiimen kezdesıp, Gitler rejimınıŋ küşeiuın öz közımen köredı. 1936 jyly Amerikaǧa oralyp, ekınşı düniejüzılık soǧys turaly boljamdy kıtap jazady.
1940 jyldyŋ jazynda, keremet keşterdıŋ bırınde, Hedi Lamarr Djordj Anteilmen tanysady. Ekeuı de soǧys kezınde adamdarǧa qalai kömektesu kerek ekenın oilanyp, äŋgımesı jarasa ketedı. Lamarrdy eŋ alǧaş mūqiiat tyŋdaǧan adam osy kompozitor boldy. Köp ūzamai ekeuı qaita kezdesıp, Hedidıŋ ūzaq kütken ideiasy qoldau tapty.
Ol kezde mikroelektronika atymen joq edı. Baǧdarlamalanatyn jalǧyz qūral – mehanikalyq roial! Onyŋ mehanizmı teŋız torpedasynyŋ korpusyna syiatyndai yqşamdy boldy. Būl önertabys taǧy bırneşe ai boiy egjei-tegjeilı pysyqtalyp, ötınım 1940 jyldyŋ jeltoqsanynda Ūlttyq önertapqyştar keŋesınıŋ töraǧasy Charlz Ketteringke jıberıldı.
Ötınım Ketteringtıŋ jetekşılıgımen daiyndalǧan jüzdegen myŋ basqa önertabystardyŋ ışınen ırıktelıp, 1942 jyly tamyzda «Qūpiia habarlama jüiesıne» AQŞ-tyŋ №2,292,387 patentı berıldı.
Qos avtor gonorardan bas tartyp, ükımetke syiǧa tartty. Ökınışke orai, būl önertabys öz uaqytynan äldeqaida erte tuǧan eken. AQŞ Äskeri-teŋız küşterınıŋ basşylyǧy patentke kümänmen qarady. Olar jyldar boiy būl nätijelı ıstı qūpiiada saqtady. Jiılıktı sekıru konsepsiiasy tek soǧystan keiın elektronikanyŋ damuymen qaita jandandy.
1957 jyldan bastap Silvaniia firmasynyŋ injenerlerı mehanikalyq komponentterdıŋ ornyna jartylai ötkızgış komponentterdı paidalana otyryp, "qūpiia habarlamalar jüiesı" ideiasymen täjıribe jasap, "Keŋjolaqty signal" terminı paida boldy. Seksenınşı jyldardyŋ ortasynda Pentagon bırqatar patentterdıŋ qūpiiasyn aşty, sol sätte ǧana "Keŋjolaqty signaldyŋ" artyqşylyqtary azamattardyŋ tūtynuyna qol jetımdı boldy. Būǧan CDMA radiotelefony qazırgı kezdegı eŋ belgılı mysal bola alady.
1959 jyly Djordj Anteil önertabystyŋ taǧdyryn, keleşegın bılmesı qaitys boldy. Hedi Lamarr būdan keiıngı bes sätsız nekesınen keiın (Fris Mandldy eseptemegende) bükıl bailyǧynan airylyp, Floridadaǧy qarttar üiınde qaitys boldy.
Endı, osyndai näzık jandynyŋ jasaǧan ısterın sanamalai otyryp, onyŋ köz toimas sūlu aktrisalyǧynan bölek, erekşe tūlǧasyn da tanysaq:
- bız onyŋ oilap tapqan önertabystaryn kündelıktı paidalanamyz;
- GSM, GPS, Bluetooth jäne Wi-Fi 802.11 sekıldı taptyrmas jüielerdıŋ negızın jasady;
- ol aşyq bailanys arnalary üşın aqparatty şifrlau prinsipterın oilap tapty;
- onyŋ arqasynda sız öz Wi-Fi kanalyŋyzda özge bıreu "otyr" dep qoryqpaisyz.
Hedi Lamardyŋ önertabysy bolmasa, äskeri sputnikter ūşpaityn, ūialy telefondar jūmys ıstemeitın, al navigasiialyq jüieler turaly aitudyŋ qajetı de joq.
İä, bälkım, mūnyŋ bärın özge bıreu soŋyna deiın jüzege asyrǧan bolar, bıraq bır fakt – ideia gollivudtyq jūldyzdykı ekenı dausyz.
Jūldyzdyŋ būl keremet ısın entuziastar kezdeisoq bılıp, Hedidı Kongresstıŋ qūrmet medalıne jäne IEEE nagradasyna ūsynady. Bıraq qoldau tappaidy.
Tek 1997 jyly Electronic Frontier-dıŋ nagradasyna ie boldy. 82 jastaǧy aktrisa «Däl uaqytynda berdıŋder!» - dep renış tanytyp, marapattau räsımıne qatyspaidy. Jurnalisterge sūhbat ta bermeidı.
Syilyqty jalǧyz ūly Entoni Louder alady.
Hedi Lamarr kinemotografiiaǧa qosqan ülesı üşın Gollivudtyŋ Daŋq alleiasynda öz jūldyzyn iemdendı. Al 9 qaraşa – aktrisanyŋ tuǧan künı – AQŞ-ta önertapqyştar künı retınde belgılendı.
"Adyrna" ūlttyq portaly
Ūqsas jaŋalyqtar
